SELF LUBRICATING SINGLE
AND DOUBLE LENGTH FLANGE BLOCKS
|
 |
 |
SELF LUBRICATING
SINGLE FLANGE BLOCK BEARING ASSEMBLIES
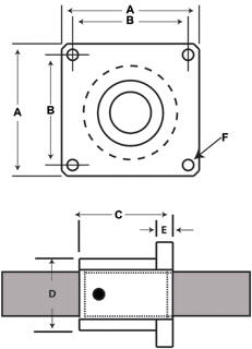
Part Number Sample For 3/4" ID
SELF LUBRICATING Block
For Self-Aligning Bearing add (SA) to Part Number
Self-Lube
Single
Flange Block
Inch Series |
Shaft
Diameter
Class L
Tolerance |
A
|
B
+/- .010 |
C
|
D
|
E
+/-.010 |
F
Bolt |
F
Bolt Hole |
|
LF
6 SL |
3/8 |
1-1/4 |
0.875 |
1-5/16 |
7/8 |
0.1875 |
#6 |
5/32 |
|
LF 8 SL |
1/2 |
1-5/8 |
1.625 |
1-11/16 |
1-1/4 |
0.250 |
#8 |
3/16 |
|
LF
10 SL |
5/8 |
2 |
1.500 |
1-15/16 |
1-1/2 |
0.250 |
#8 |
3/16 |
|
LF 12 SL |
3/4 |
2-3/8 |
1.750 |
2-1/16 |
1-3/4 |
0.375 |
#10 |
7/32 |
|
LF 16 SL |
1 |
2-3/4 |
2.125 |
2-13/16 |
2-1/4 |
0.500 |
1/4 |
9/32 |
|
LF
20 SL |
1 1/4 |
3 |
2.250 |
3-5/8 |
2-1/2 |
0.500 |
1/4 |
9/32 |
|
LF 24 SL |
1-1/2 |
4 |
3.125 |
4 |
3-5/8 |
0.750 |
3/8 |
13/32 |
|
SELF LUBRICATING DOUBLE FLANGE BLOCK BEARING
ASSEMBLIES
|
|
|
Self-Lube Double Flange Block
Inch Series
|
Shaft
Size
|
A |
B
|
C
|
D
|
E
|
F
|
G
|
|
Class L
|
|
+/- .010
|
|
|
+/-
.010
|
Bolt
|
Bolt Hole
|
|
*DFB 8 SL
|
1/2
|
1-5/8 |
1.625
|
3-3/8
|
1-1/4
|
0.250
|
#8
|
3/16
|
|
DFB 12 SL
|
3/4
|
2-3/8 |
1.750
|
4-3/16
|
1-3/4
|
0.375
|
#10
|
7/32
|
|
DFB 16 SL
|
1
|
2-3/4 |
2.125
|
5-5/8
|
2-1/4
|
0.500
|
1/4
|
9/32
|
NOTE: Double
Length Pillow Blocks are not available in self-aligning
version because
two bearings on one shaft and in the same housing, lock each
other into a fixed
position.
|